0 引言
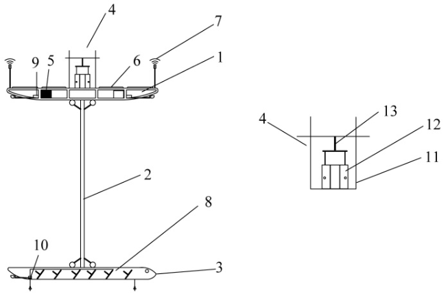
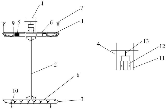
1 结构组成及原理
2 试验装置
2.1 试验模型
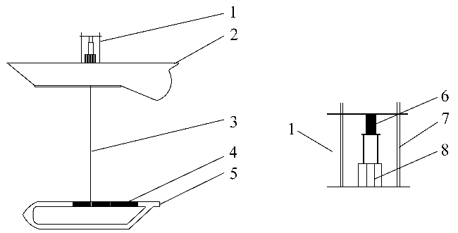
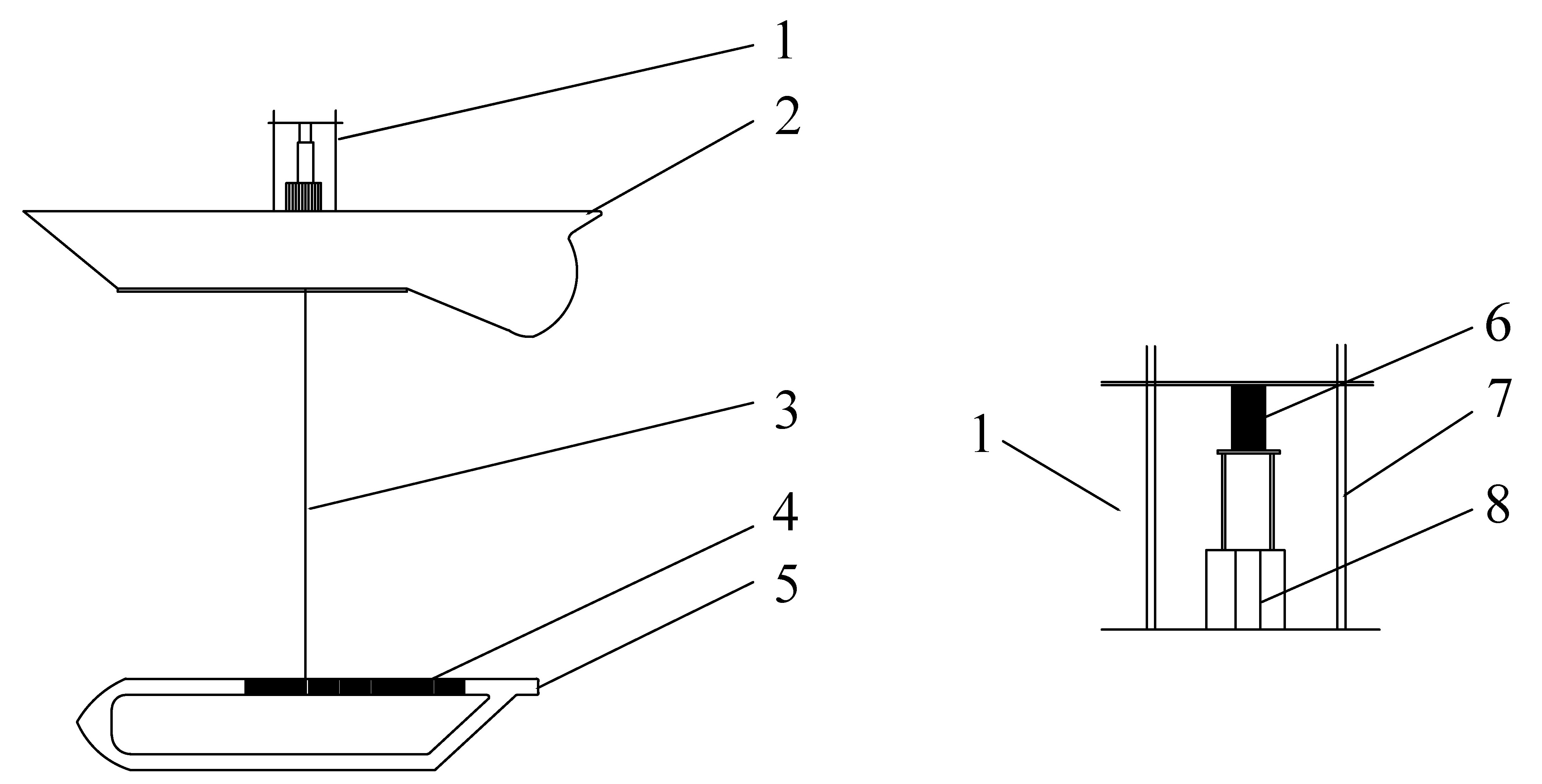
图3 波浪能发电滑翔机物理试验模型1—能量转换系统;2—水面浮体;3—柔性缆绳;4—翼板;5—水下牵引机;6—拉簧;7—固定支架;8—双向气缸。 Fig. 3 Wave energy powered glider physical test model |
表1 试验模型结构主要参数Table 1 Main parameters of test model structure |
| 参数 | 数值 |
|---|---|
| 水面浮体尺寸/cm | 84 × 24 × 10 |
| 水面浮体重量/kg | 2.23 |
| 水下牵引机尺寸/cm | 76 × 54 × 14 |
| 水下牵引机重量/kg | 5.08 |
| 柔性缆绳长度/cm | 60 |
| 翼板尺寸/cm | 24.0 × 6.4 |
| 固定支架尺寸/cm | 33 × 20 |
| 双向气缸行程/cm | 15 |
2.2 试验设计
表2 试验工况Table 2 The test working conditions |
| 变量 | 数值 |
|---|---|
| 波高/m | 0.17、0.18、0.19、0.20、0.21、0.22、 0.23、0.24、0.25、0.26、0.27 |
| 周期/s | 2.6、2.7、2.8 |


